科技服务网

一种建筑节能用的通风散热装置

更新时间:2022-08-25 08:47:12

专利名称

一种建筑节能用的通风散热装置

类型

发明专利

专利号

CN202011186359.4

申请号

CN202011186359.4

申请日

2020.10.29

法律状态

授权

公开(公告)日

2021.10.01

主分类号

F24F13/14;F24F5/00;E03B3/03;F24F7/013

分类号

F24F5/00;F24F7/013;F24F13/1413;E03B3/03

申请(专利权)人

武昌理工学院

发明(设计)人

刘玉曦

地址

武汉市江夏区江夏大道16号

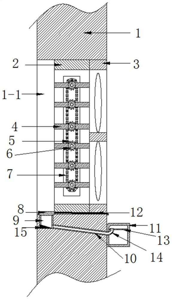
摘要

一种建筑节能用的通风散热装置,本发明涉及建筑室内环境设计技术领域,电机以及正反向风扇均与蓄电池电连接;位于固定框外侧的墙体开孔内底壁嵌设有雨水收集槽,雨水收集槽的上端口利用拉簧活动盖设有密封端盖;密封端盖利用合页铰接在墙体开孔的外端底壁上,且密封端盖与合页相对的一侧壁固定有铰接座,铰接座内利用轴旋接有连接座,连接座固定在拉杆的一端,拉杆的另一端依次穿过开设于固定框以及正反向风扇框体底部的穿孔后,设置于室内。其安装在墙体内,能够在阴雨天气调节内部叶片朝向,有效避免雨水进入室内,同时还具有收集雨水的作用,将雨水循环再利用,节能环保。