科技服务网

一种高度可调节的电子信息标识牌

更新时间:2023-04-20 11:02:38

专利名称

一种高度可调节的电子信息标识牌

类型

发明专利

专利号

CN202110529664.7

申请号

CN202110529664

申请日

2021.05.14

法律状态

发明专利权授予

公开(公告)日

2021.08.10

主分类号

F16M11/24;F16M11/42;G09F9/00;F16M11/16;F16M11/04

分类号

F16M11/04;F16M11/16;F16M11/242;F16M11/42;G09F9/00

申请(专利权)人

武昌理工学院

发明(设计)人

姜文凯

地址

武汉市江夏区江夏大道16号

摘要

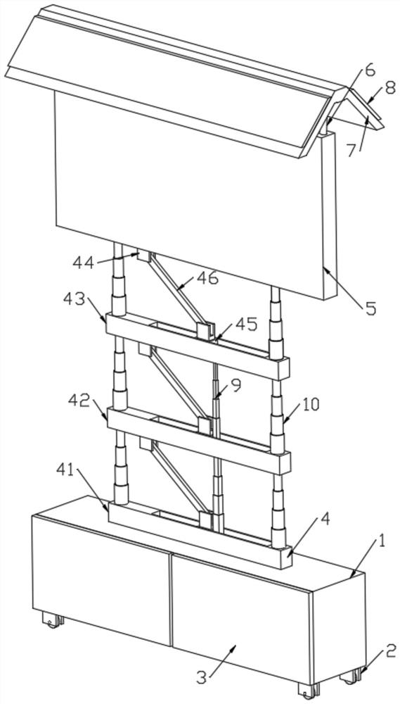
本发明公开了一种高度可调节的电子信息标识牌,涉及电子信息标识牌技术领域,包括稳定座,所述稳定座的顶部通过高度调节装置连接有电子信息标识牌本体。本发明中,通过利用控制器控制电动液压伸缩杆的长度发生变化,对滑块的位置进行调节,滑块左右移动调节连接杆的倾斜角度,通过调节连接杆的倾斜角度,对电子信息标识牌本体的高度进行调节,解决了现有的电子信息标识牌本体上升的高度受到推杆电机的电机轴长度限制的问题,同时电动液压伸缩杆的推动功率小于现有高度可调节的电子信息标识牌上使用的推杆电机的功率,降低了设备成本,此外,该高度可调节的电子信息标识牌处于收缩状态时的体积较小,方便运输。