申请号:CN202110280949.1
代理机构:兰州中科华西专利代理有限公司 62002
发明人:李蕾; 安庆
申请(专利权)人:武昌理工学院
申请人所在国家/地区/组织:CN
公开日期(公开):2021.06.22
公开日期(授权):2022.05.31
IPC分类(公开):H04N7/18;F16F15/067;F16H57/04;F16M11/18;F16M11/06;H04N5/225
CPC发明(公开):H04N7/181;H04N5/225;F16M11/06;F16M11/18;F16H57/0434;F16F15/067
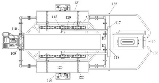
本发明涉及监控技术领域,具体为一种具有多角度调节机构的物联网监控设备,包括装置本体,所述装置本体包括处理箱,所述处理箱的一侧固定安装有单片机,所述处理箱的一侧固定安装有第一固定板,所述第一固定板的顶端固定安装有伺服电机,所述伺服电机的一侧固定安装有蜗杆。本发明通过设置有蜗杆、套接轴、涡轮、套接杆和第一安装架,使得使用时通过对处理箱内侧的单片机发送指令,使得伺服电机工作,此时伺服电机带动蜗杆旋转,进而使得与蜗杆啮合的涡轮旋转,此时套接轴外侧的套接杆开始做环形运动,进而对枪式摄像头本体进行角度调节,调整枪式摄像头本体的监控区域,避免出现监控死角的问题发生。
