申请号:CN202410707505.5
代理机构:武汉东喻专利代理事务所(普通合伙) 42224
发明人:郭敏; 吴志明; 张馨元; 曾洁
申请(专利权)人:武昌理工学院
申请人所在国家/地区/组织:CN
公开日期(公开):2024.07.05
公开日期(授权):2024.08.20
IPC分类(公开):G02B13/00;G03B30/00;G02B13/06
CPC发明(公开):G02B13/005;G02B13/06;G03B30/00

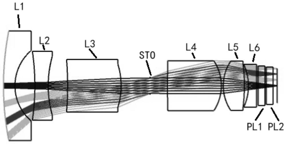
本发明公开了一种车载超广角镜头,由物侧至像侧依次包括光焦度为负的前透镜组和光焦度为正的后透镜组,所述前透镜组由第一透镜、第二透镜、第三透镜组成,所述后透镜组由第四透镜、第五透镜、第六透镜组成,所述前透镜组和所述后透镜组之间设置有光阑;所述后透镜组像方侧还设置有第一平板、第二平板;所述第一透镜至第六透镜的光焦度依次分别为:负、负、正、正、正、负;所述第一透镜的物侧面为凸面;所述镜头满足下列关系式6.0≤F<subgt;前</subgt;/F<subgt;后</subgt;≤6.2;1.35≤(R1+R2)/(R1‑R2)≤1.40;0.16≤D/TTL≤0.18;‑5.5≤f1/f≤‑4.5。该车载超广角镜头具有低成本、良好光学性能、超广角的优点。